2014年 呼 和 浩 特 市 中 考 试 卷
数 学
注意事项:
1.考生务必将自己的姓名、准考证号填涂在试卷和答题纸的规定位置。
2.考生要将答案写在答题纸上,在试卷上答题一律无效。考试结束后,本试卷和答题纸一并交回。
3.本试卷满分120分。考试时间120分钟。
一、选择题(本大题共10小题,每小题3分,共30分.在每小题给出的四个选项中,只有一项是符合题目要求的)
1.下列实数是无理数的是
2.以下问题,不适合用全面调查的是
A.旅客上飞机前的安检 B.学校招聘教师,对应聘人员的面试
C.了解全校学生的课外读书时间 D.了解一批灯泡的使用寿命
3.已知线段CD是由线段AB平移得到的,点A(–1,4)的对应点为C(4,7),则点B(–4,–1)的对应点D的坐标为
A.(1,2) B.(2,9)
C.(5,3) D.(–9,–4)
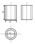
4.右图是某几何体的三视图,根据图中数据,求得该几何体的体积为
A.60π B.70π
C.90π D.160π
5.某商品先按批发价a元提高10%零售,后又按零售价降低10%出售,则最后的单价是
A.a元 B.0.99a元
C.1.21a元 D.0.81a元
6.已知⊙O的面积为2π,则其内接正三角形的面积为
点击下载完整版:呼和浩特市2014年中考数学试题及答案(Word版)