二、多项选择题(本大题共10小题,每小题2分,共20分)
在每小题列出的五个备选项中至少有两个是符合题目要求的,请将其代码填写在题后的括号内。错选、多选、少选或未选均无分。
1.按照反映的实物消耗内容,可将建筑安装工程定额分为( )
A.建筑工程定额
B.安装工程定额
C.劳动消耗定额
D.材料消耗定额
E.机械台班使用定额
2.下列关于施工图预算的说法中表述正确的有( )
A.施工图预算是施工图设计文件的组成部分
B.施工图预算是考核施工图设计经济合理性的依据
C.施工图预算是根据施工定额编制的
D.施工图预算是编制概算指标的基础
E.施工图预算是编制工程标底的依据
3.建筑安装工程预算的施工机械使用费中,属于可变费用的有( )
A.折旧费
B.大修理费
C.动力燃料费
D.养路费
E.机上人工费
4.下列费用属于建筑安装工程企业管理费的有( )
A.劳动保险费
B.劳动保护费
C.工会经费
D.住房公积金
E.职工教育经费
5.人工消耗指标的内容是( )
A.基本用工
B.超运距用工
C.人工幅度差
D.辅助用工
E.工程赶工用工
6.综合脚手架的内容有( )
A.内外墙砌筑脚手架
B.3.6米以内的内墙抹灰脚手架
C.外墙抹灰脚手架
D.天棚抹灰脚手架
E.3.6米以上的内墙抹灰脚手架
7.以下属于施工技术措施费项目,可按预算定额计价的是( )
A.工程排污费
B.缩短工程增加费
C.基槽坑内排水费
D.大型机械进退场及安拆费
E.脚手架费
8.工程量清单计价中,分部分项工程的综合单价由完成规定计量单位工程量清单项目所需______等费用组成。( )
A.人工费、材料费、机械使用费
B.管理费
C.临时设施费
D.利润
E.税金
9.计算砖墙砌体工程量时,应扣除( )
A.埋入的钢筋、铁件
B.圈梁、过梁
C.木砖、垫木
D.构造柱
E.门窗洞口
10.计算建筑物超高施工增加费时以下哪几项内容计入降效系数?( )
A.垂直运输
B.预制混凝土构件制作
C.脚手架
D.现浇混凝土模板
E.挖土方
三、判断题(本大题共5小题,每小题2分,共10分)
判断下列各题,正确的在题后括号内打“√”,错的打“×”。
1.工程量清单是招标文件的组成部分。( )
2.水泥砂浆踢脚线按设计图示长度以延长米计算,不扣除门洞、空圈的长度,门洞、空圈和垛的侧壁也不增加。( )
3.场外运输损耗、仓库保管损耗已包括在预算价格内。( )
4.打、压预应力钢筋混凝土管桩定额未包括接桩费用,需另行计算。( )
5.楼地面工程中踢脚线高度超过30cm者,按墙柱面相应定额执行。( )
四、简答题(本大题共3小题,每小题5分,共15分)
1.简述基本建设的内容。
2.简述预算定额的作用。
3.建筑安装工程中的人工费由哪些内容组成?
五、计算题(本大题共2小题,共25分)
计算结果保留到两位小数,单价保留到整数。
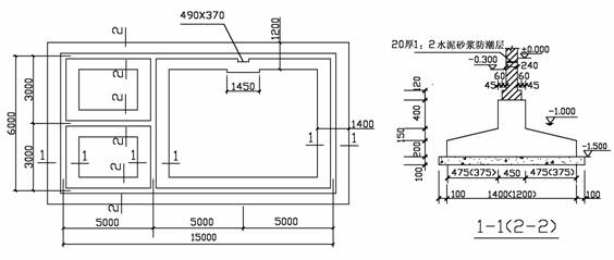
1.某房屋工程基础平面及断面如图所示,已知:基底土质均衡,为二类土,地下常水位标高为-1.0m,室外地坪设计标高-0.3m。根据预算定额计算1-1剖面的土方(干、湿土,工作面按0.3cm考虑)、无梁式钢筋混凝土带形基础(钢筋、模板不计)、砼垫层、砖基础及防潮层工程量。(15分)
放坡系数
| 土壤类别 | 深度超过时 | 放坡系数K |
| 一、二类土 | 1.2 | 0.5 |
| 三类土 | 1.5 | 0.33 |
| 四类土 | 2.0 | 0.25 |
| 定额编号 | 10-16 | 10-17 | 10-19 | 10-20 | ||||
| 项目 | 大理石楼地面 | 花岗石楼地面 | ||||||
| 干硬水泥砂浆 | 水泥砂浆 | 干硬水泥砂浆 | 水泥砂浆 | |||||
| 基价(元) | 8538 | 8578 | 14991 | 15028 | ||||
| 其 中 |
人工费(元) | 638.40 | 644.10 | 649.50 | 652.50 | |||
| 材料费(元) | 783.13 | 7917.61 | 14324.71 | 14359.18 | ||||
| 机械费(元) | 16.54 | 16.54 | 16.54 | 16.54 | ||||
| 名称 | 单位 | 单价(元) | 消耗量 | |||||
| 人工Ⅲ类合计 | 工日 | 30.00 | 21.280 | 21.47 | 21.650 | 21.750 | ||
| 材 料 |
干硬水泥砂浆 | m3 | 173.53 | 2.200 | 2.200 | |||
| 纯泥砂浆 | m3 | 407.63 | 0.101 | 0.101 | 0.101 | 0.101 | ||
| 大理石板 | m2 | 72.85 | 102.00 | 102.00 | ||||
| 花岗石板 | m2 | 136.00 | 102.000 | 102.000 | ||||
| 水泥砂浆1∶2.5 | m3 | 189.20 | 2.200 | 2.200 | ||||
| 白水泥 | kg | 0.55 | 10.000 | 10.000 | 10.000 | 10.000 | ||
| 棉纱头 | kg | 9.23 | 1.000 | 1.000 | 1.000 | 1.000 | ||
| 水 | m3 | 1.95 | 2.600 | 2.600 | 2.600 | 2.600 | ||
| 石料切割锯片 | 片 | 27.70 | 0.350 | 0.350 | 0.350 | 0.350 | ||
| 机械 | 灰浆搅拌机200 | 台班 | 44.69 | 0.370 | 0.370 | 0.370 | 0.370 | |