
泰州市2009年上半年市直事业单位招考
网上报名流程
流程一:本人信息录入(5月5日上午09:00-5月8日中午12:00)、支付考试费用(5月5日上午09:00-5月10日中午12:00)
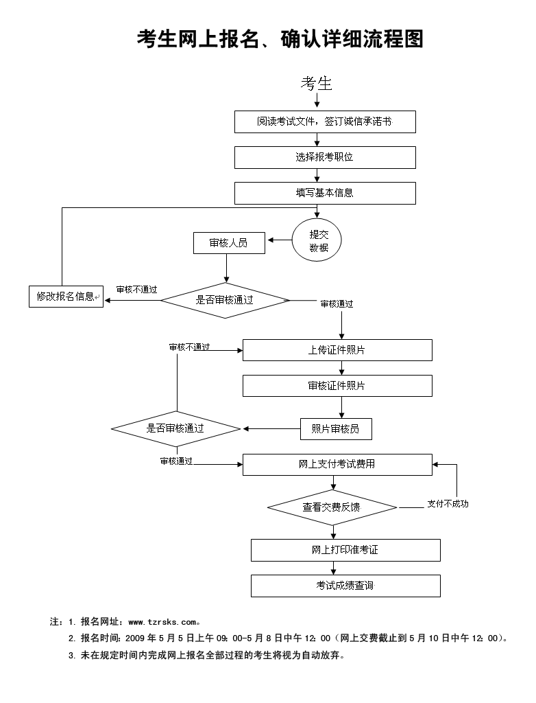
(一)登录泰州人事考试网(www.tzrsks.com)查看有关招考文件、招考公告、职位说明、政策问答和技术问答。
(二)下载招考计划、考试大纲,查询并浏览各单位、职位报名情况,选择合适的职位并记录报考部门和报考职位名称及代码。点击“泰州市2009年上半年市直事业单位招考网上报名”→ 根据事先查询好的报考部门和报考职位,选择想要报考的职位。点击“点击报名” →进入“网上报名协议”页面,详细阅读“网上报名协议”后点击“我同意”进入“报名注册”页面,选择证件类型,填写身份证号和密码→点击“确认”进入“报名登记表”页面。
(三)填写信息时,标有“*”的项目必须填写(所有输入须使用半角方式)。填写时文字内容不能超过限定的字符数,身份证号的最后一位如为“X”,须用半角方式填写大写的西文“X”, 信息输入完毕检查无误后点击“报名”。
(四)招考单位将根据考生填写的网上资料进行资格审查,报名人员资格审核通过后,点击报名首页的“【报名信息管理】(考生入口)”,输入身份证号和密码后进入“详细信息”页面,点击 “上传照片”,进入“图片上传页面”,上传本人电子照片34*45毫米(宽130像素,高170像素)证件照,jpg格式,文件小于20Kb,可使用网站提供的电子照片处理工具进行处理。点击“开始上传”。
(五)泰州市人事考试中心将对考生的电子照片进行审核。审查在网上直接进行,审查时间根据报考考生提交时间在24小时内进行审核;
(六)从报名信息提交成功后24小时内可到报名网站查看审核结果。查看时,点击报名首页的“【报名信息管理】(考生入口)”,填写身份证号、密码后,登录“详细信息”页面,点击“查询结果”查看是否通过审核,如通过用人单位资格和市人事考试中心电子照片审核,点击“网上支付报名费”→进入“使用快钱支付”页面→点击“提交到快钱”→进入“支付-快钱”页面→选择相应的银行,点击“到银行页面付款”,可通过银联卡支付报名费用。审核未通过者如仍在网上报名期间,可改报其他部门或职位。
(七)网上报名结束后对报名人数达不到开考比例职位的考生安排重新报名,补报名时间为2009年5月11日9∶00—12∶00。
流程二:准考证下载和打印(6月10日-12日)
通过资格审查并缴费成功的考生请登录泰州人事考试网(www. tzrsks.com),输入你的身份证号,即可下载和打印你的准考证。
流程三:考试成绩查询
笔试成绩6月30日左右在指定网站公布。